Elektron BBS
Inhalt | Mailbox | Elektronik | Verkehr | Markt | Download | Geld | Suchen
Schaufenster der Woche !hier klicken!

AVITOS.COM Hardware, Software, Telekommunikation

Stecker- und Buchsenbelegungen von analogen Telekommunikationsgeräten

TRIPEL Kabel Shop
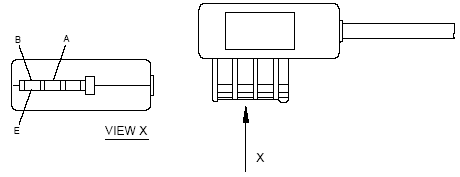
TAE-F-Stecker (Fernsprechbetrieb)
  1. A

  2. B

  3. Wecker

  4. Erde

  5. Nicht belegt

  6. nicht belegt

TAE-N-Stecker (Nicht-Fernsprechbetrieb)
  1. A

  2. B

  3. Wecker

  4. Erde

  5. B1

  6. A1

Anschlussstecker Österreich

  1. A

  2. Erde

  3. Wecker

  4. nicht belegt

  5. B

  6. B1

  7. nicht belegt

  8. nicht belegt

  9. nicht belegt

  10. A1

Anschlussstecker Frankreich Variante 1  
Anschlussstecker Frankreich Variante 2  
Anschlussstecker Schweiz  
Anschlussstecker Niederlande  
Anschlussstecker Italien  
Anschlussstecker Belgien  


Elektronik | Steckerbelegungen | Telekommunikation | Stichwortverzeichnis


letzte Änderung dieser Seite: 28. Dezember 2008

© 2000, Elektron BBS, Udo Bertholdt